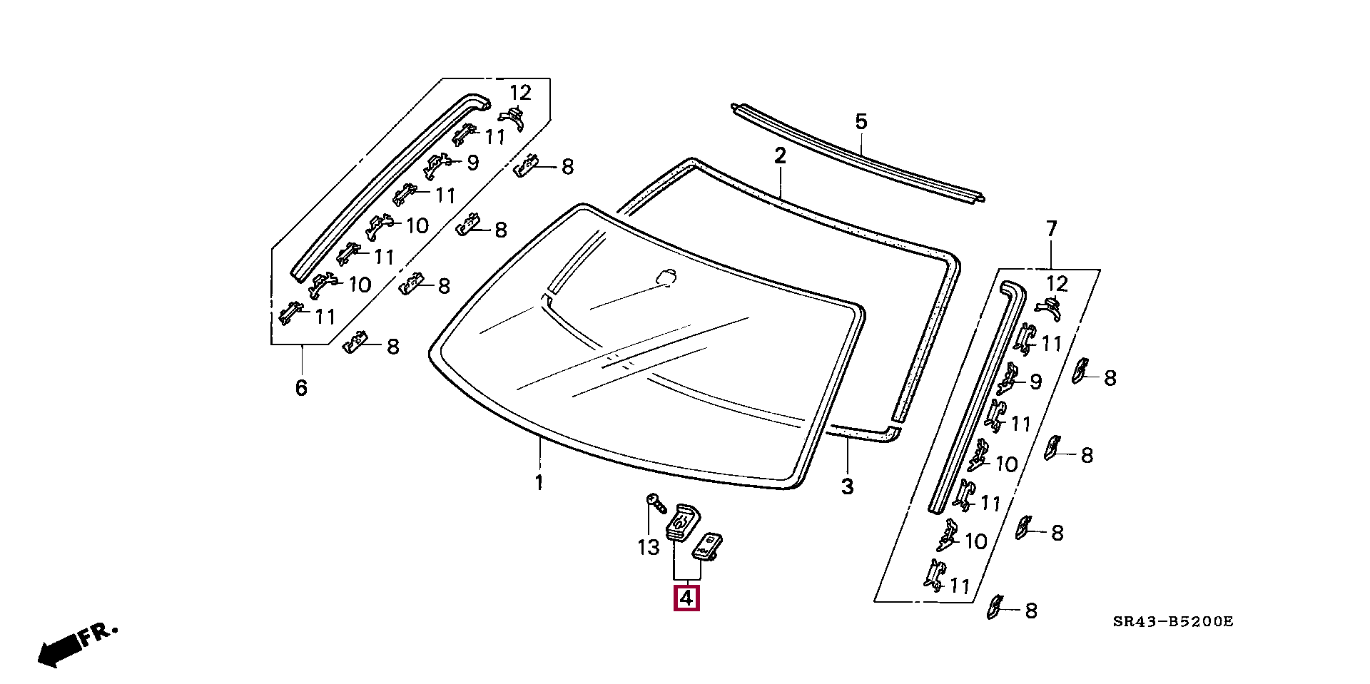
HOLDER, FR. WINDSHIELD GLASS, 73127SR3003
| Артикул: | 73127-SR3-003 |
Цену и условия доставки уточняйте у наших менеджеров.
ПРИМЕНЯЕМОСТЬ ПО КАТАЛОГУ
Запчасти Honda
Уважаемые клиенты! Для максимально корректного подбора аксессуаров рекомендуем вам позвонить нашим менеджерам, чтобы получить квалифицированную консультацию.
Телефон: +7(495)797-60-03
Случайные новости
15.04.2019
Honda Legend: модернизация 2019 модельного года18.03.2021
Honda Civic 5D Turbo: для семьи и для трассы16.11.2017
Honda Civic: дрейфуя в сторону бизнес-классаВсе новости

