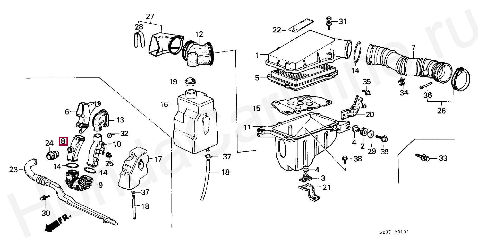
DUCT B, AIR CLEANER, 17230PE7661
| Артикул: | 17230-PE7-661 |
Цену и условия доставки уточняйте у наших менеджеров.
ПРИМЕНЯЕМОСТЬ ПО КАТАЛОГУ
Запчасти Honda
Уважаемые клиенты! Для максимально корректного подбора аксессуаров рекомендуем вам позвонить нашим менеджерам, чтобы получить квалифицированную консультацию.
Телефон: +7(495)797-60-03
Случайные новости
25.03.2016
Премьеры Honda на Женевском автосалоне09.01.2015
Honda Jazz: генератор позитива19.10.2017
Седан Honda Civic 2017: непохожий на седанВсе новости

