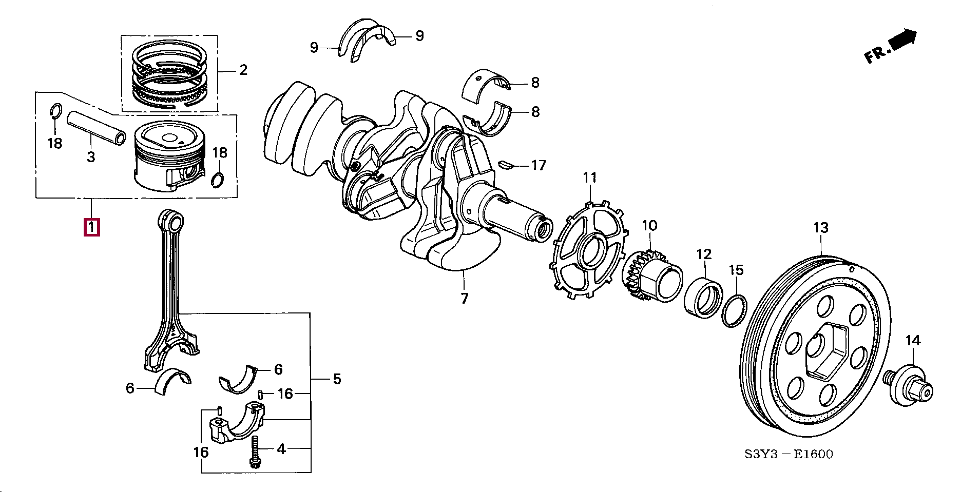
PISTON SET (STD.), 13010PHM010
| Артикул: | 13010-PHM-010 |
Цену и условия доставки уточняйте у наших менеджеров.
ПРИМЕНЯЕМОСТЬ ПО КАТАЛОГУ
Запчасти Honda
Уважаемые клиенты! Для максимально корректного подбора аксессуаров рекомендуем вам позвонить нашим менеджерам, чтобы получить квалифицированную консультацию.
Телефон: +7(495)797-60-03
Случайные новости
19.04.2016
Обновлённый кроссовер Honda CR-V с мотором 2.0 л. уже в российских салонах06.04.2013
Honda Accord нового поколения04.07.2014
Салон Honda Civic - эффектный образец безопасностиВсе новости

